北京时间4月7日,天眼查工商信息显示,郭艾伦名下企业均已注销。

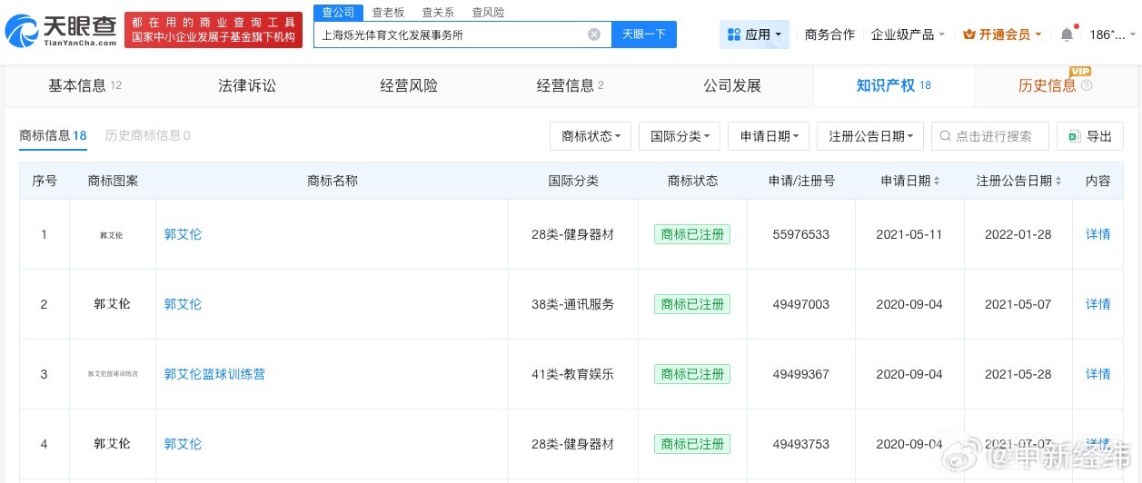
上海烁光体育文化发展事务所成立于2017年4月,出资额10万人民币,经营范围含体育赛事策划、文化艺术交流策划、体育咨询等,为郭艾伦个人独资企业。

目前该事务所已注销。知识产权信息显示,该企业已注册多枚“郭艾伦”“郭艾伦篮球训练营”商标,国际分类涉及健身器材、通讯服务、教育娱乐等,当前商标状态多为已注册。
相关阅读
郭艾伦被诈骗千万元细节:被“十年兄弟”用年化22%忽悠入局
“郭艾伦遭熟人诈骗千万”登上微博热搜第二,目前警方已立案处理
有反转?郭艾伦:我没有被骗,网络造谣比真骗子还能编
郭艾伦工作室声明:网传“郭艾伦被骗钱财”相关均为凭空捏造